PVC-C Tip A Soket Flanşı DN15-150 15A-150A JIS Standardı

Yeni Ortak Açık Gri PVC-C Tip A Soket Flanşlı Plastik Boru Bağlantı Parçaları, JIS Standardı

Menşei: Çin
Marka adı: KXPV
Malzeme: Plastik
Süreç: Dövme
Bağlantı: Soket
Şekil: Eşit
Kafa Kodu: Kare
Renk: Açık Gri
Boyut: DN15-150
Uygulama: Endüstri
Ambalaj: Karton
Çalışma Basıncı: 1 MPa
Teslimat Süresi: 7 Gün
Minimum Sipariş Miktarı: 1 Adet

Uygulama Sıcaklığına Bağlı Liste
Malzeme Orta sıcaklık° Malzeme Orta sıcaklık°
PVC-C -20°C~ 95°C PVC-U -5°C~ 45°C
FRPP -20°C~ 120°C PPK -20°C~ 110°C
PVDF 40°C~ 150°C

Ürün Yapısal Özellikleri

1.Mükemmel Kimyasal Direnç: Sıcaklık aralığı -20°C ila 95°C arasındadır. Ortamdaki iyon içeriği ultra saf su standartlarını karşılamaktadır. Hijyen performansı ulusal sanitasyon standartlarına uygundur.
2. Üstün Mukavemet, Tokluk ve Kimyasal Korozyon Direnci: Malzeme, kimyasal korozyona karşı üstün mukavemet ve direnç sunar.
3. Dayanıklılık: Olağanüstü yaşlanma direnci ve UV direnci, diğer boru sistemlerine kıyasla ömrünü önemli ölçüde uzatır.
4.Düşük Isı İletkenliği: Isı iletkenliği çeliğin yaklaşık 1/200'ü kadardır; alev geciktirici özellikleri kendiliğinden söner.
5.Hafif: Çelik boruların yalnızca 1/5'i ve bakır boruların 1/6'sı ağırlığındadır.
6.Düşük Direnç, Yüksek Akış Hızı: Pürüzsüz ve temiz boru duvarı, sıvıların taşınması sırasında minimum sürtünme direnci ve yapışma sağlar.
7.Kolay Kurulum, Düşük Maliyet: Yapıştırma, diş açma ve en basit şekilde yapıştırıcıyla bağlanabilir, uygun maliyetli ve kullanıcı dostu bir çözüm sunar.

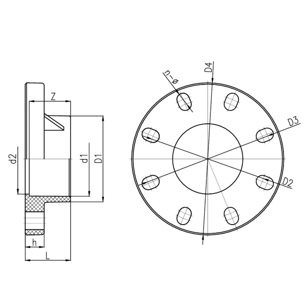
PVC-U Tip A Soketli Flanş

DN D1 D2 D3 D4 d1 d2 L h Z n-Ø
15 28 61 70 95 20 17 20 14 16 4-Ø15X20
20 32 70 75 105 25 22 23 16 19 4-Ø15X18
25 40 79 90 120 32 28 27 16 22 4-Ø16X22
32 50 89 100 140 40 36 31 17 26 4-Ø18X24
40 61 98 110 150 50 45 36 19 31 4-Ø18X25
50 75 120 125 165 63 58 43 21 38 4-Ø18X21
65 88 140 145 185 75 69 50 22 44 4-Ø18X21
80 105 150 160 200 90 84 57 25 51 8-Ø18X24
100 127 175 190.5 225 110 104 67 28 61 8-Ø18X26
125 161 210 216 250 140 134 82 30 76 8-Ø20X24
150 184 240 242 280 160 154 92 30 86 8-Ø23X24
Mesaj Geri Bildirimi
Hakkımızda
Kaixin Pipeline Technologies Co., Ltd.
1999 yılında kurulmuştur, Kaixin Pipeline Technologies Co., Ltd. Araştırma ve geliştirme, üretim, satış ve hizmeti entegre eden yüksek teknoloji bir kuruluştur. Şirket, Ulusal Yüksek Teknoloji Kuruluşu, "Küçük Dev" Profesyonel ve Gelişmiş KOBİ, Ulusal Tek Ürün Şampiyonu (Yetiştirme), İl Teknoloji Tabanlı KOBİ, Ningbo Profesyonel ve Gelişmiş KOBİ, Ningbo Tek Ürün Şampiyonu (Yetiştirme), Ningbo Polimer Boru ve Vana Teknolojisi Ar-Ge Merkezi, İlçe Düzeyinde Yeşil Fabrika, Ningbo Dört Yıldızlı Yönetim İnovasyon Kuruluşu ve Kurumsal Veri Yönetimi Yeteneği Olgunluk Seviyesi 2 dahil olmak üzere birçok yetkili sertifika almıştır.
Şirketimiz, plastik vanalar, borular, boru bağlantı parçaları ve korozyona dayanıklı pompalar da dahil olmak üzere kimyasal uygulamalar için metal olmayan korozyona dayanıklı ürünlerin geliştirilmesi, üretimi ve tedarikinde uzmanlaşmıştır. Ürün portföyümüz, çeşitli tip ve özelliklerde PVC-C, PVC-U, PVDF, PPH ve FRPP gibi geniş bir malzeme yelpazesini kapsamaktadır. Özellikle kelebek vanalarımız DN1000 çapa kadar ulaşabilir ve boru ve bağlantı parçalarımız DN800'e kadar genişletilebilir; bu da pazar boşluklarını doldurmamıza ve sektörde rekabet avantajımızı korumamıza olanak tanır.
"Teknoloji odaklı, çağa ayak uyduran" ilkesi doğrultusunda Kaixin, araştırma ve geliştirmeye yıllık yaklaşık 10 milyon RMB ayırmaktadır. Standartlaştırılmış otomatik üretim ve ithal hammaddelerin titizlikle tedarik edilmesi yoluyla üstün ürün kalitesini garanti ediyoruz. Uluslararası gelişim stratejimiz doğrultusunda, küresel pazar trendlerini sürekli olarak izliyor ve dijital kanalları kullanarak dünya çapındaki müşterilerimize yüksek kaliteli "Çin Malı" ürünler sunuyoruz.
Ningbo-Fenghua Araştırma ve Geliştirme ve Üretim Üssü
Toplam 200 milyon RMB yatırımla Kaixin Ultra-Pure Pipe Technology (Ningbo) Co., Ltd., üniversiteler ve araştırma kurumlarıyla iş birliği yaparak yeni bir malzeme araştırma enstitüsü kurdu ve modern bir üretim üssü inşa etti. Bu tesiste, modifiye plastikler için sekiz ve polimer malzemeler için sekiz adet tam otomatik üretim hattı kuruldu. Tesis, yeni modifiye plastik ve polimer malzemelerin araştırma ve geliştirilmesi, üretimi ve uygulamasına adanmıştır. Kaixin ayrıca, polimer vanalar, borular ve bağlantı parçalarının araştırma ve geliştirilmesi ve üretiminde küresel olarak tanınan bir lider olmayı hedeflemekte ve çeşitli alanlardan üstün yetenekleri çekmeye, ürün inovasyonunu ve marka gelişimini sürekli olarak desteklemeye kararlıdır.
Şeref Belgesi
  • honor
  • honor
  • honor
  • honor
  • honor
  • honor
  • honor
  • honor
  • honor
Haberler