PVC-C G41F-10V Tip A Flanşlı Diyaframlı Vana DN15-300 1/2"-12" ANSI Standardı

Ultra Dayanıklı Yüksek Sıcaklık Kılavuzu Asidik Akışkanlar ve Su Temini için Yeni PVC-C Flanşlı Diyaframlı Vana, ANSI Standardı
Ürün adı: PVC-C Diyaframlı Vana
Renk: Gri
Boyut: DN15–DN300
Modeli: G41F-10V
Uygulama: Genel
Malzeme: Plastik
Orta Sıcaklık: Yüksek, Orta
Basınç: Orta
Güç Kaynağı: Manuel
Orta: Asit
Bağlantı Noktası Boyutu: DN15–DN300
Yapı: Diyafram
Bağlantı: Flanşlı Uç
Sertifika: ISO9001
Basınç Sınıfı: 1.0Mpa(10bar)
Vana Tipi: 1 Yollu
Sızdırmazlık: EPDM F46
Teslimat Süresi: 7 Gün
Minimum Sipariş Miktarı: 1 Adet

Ürün Yapısal Özellikleri
1. Sızdırmazlık diyaframı, ≥120.000 devirlik esneme dayanıklılığına ve F4'e eşdeğer korozyon direncine sahip F46 veya PFA'dan yapılmıştır.
2. Valf, düşük çalışma torkuna ve mükemmel stabiliteye sahip bir vidalı kaldırma yapısını benimser.

Uygulama Sıcaklığına Bağlı Liste

Malzeme Orta sıcaklık° Malzeme Orta sıcaklık°
PVC-C -20°C~ 95°C PVC-U -5°C~ 45°C
FRPP -20°C~ 120°C PPK -20°C~ 110°C
PVDF 40°C~ 150°C
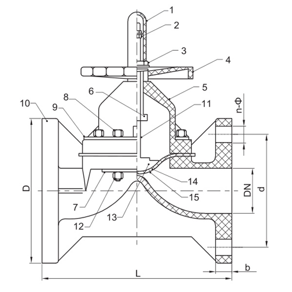
Parça Malzeme Tablosu
Hayır. İsim Malzeme Adet
1 Teminat Limiti OLARAK 1
2 Vida Çelik 1
3 Tespit Somunu 65 milyon 1
4 Tekerlek FRPP,FRPP,FRPP,PPH,FRPP 1
5 Kaput PVC-C,PVC-U,PVDF,PVDF,FRPP 1
6 Somun Bakır 1
7 Merdane Çelik
8 Vida Çelik
9 Merdane Çelik
10 Vücut Çelik
11 Kök PVC-C,PVC-U,PVDF,PVDF,FRPP 1
12 Somun Cap PVC-C,PVC-U,PVDF,PPH,FRPP 1
13 Disk PVDF,Demir 1
14 Flim EPDM 1
15 Diyafram F46/PFA/PTFE 1

Boyut Listesi

Şartname d
(mm)
D
(mm)
L
(mm)
b
(mm)
n-Ф
(mm)
1/2"(15) 60 95 125 14 4-Φ16
3/4"(20) 70 115 135 18 4-Φ16
1"(25) 79 115 145 18 4-Φ16
1¼"(32) 89 135 160 18 4-Φ18
1½"(40) 98 145 180 20 4-Φ19
2"(50) 121 160 210 22 4-Φ19
2½"(65) 140 180 250 24 4-Φ19
3"(80) 152 195 300 24 8-Φ19
4"(100) 191 229 350 26 8-Φ19
5"(125) 216 250 400 30 8-Φ22
6"(150) 241 280 455 30 8-Φ23
8"(200) 299 343 570 40 8-Φ23
10"(250) 362 406 680 40 12-Φ23

Mesaj Geri Bildirimi
Hakkımızda
Kaixin Pipeline Technologies Co., Ltd.
1999 yılında kurulmuştur, Kaixin Pipeline Technologies Co., Ltd. Araştırma ve geliştirme, üretim, satış ve hizmeti entegre eden yüksek teknoloji bir kuruluştur. Şirket, Ulusal Yüksek Teknoloji Kuruluşu, "Küçük Dev" Profesyonel ve Gelişmiş KOBİ, Ulusal Tek Ürün Şampiyonu (Yetiştirme), İl Teknoloji Tabanlı KOBİ, Ningbo Profesyonel ve Gelişmiş KOBİ, Ningbo Tek Ürün Şampiyonu (Yetiştirme), Ningbo Polimer Boru ve Vana Teknolojisi Ar-Ge Merkezi, İlçe Düzeyinde Yeşil Fabrika, Ningbo Dört Yıldızlı Yönetim İnovasyon Kuruluşu ve Kurumsal Veri Yönetimi Yeteneği Olgunluk Seviyesi 2 dahil olmak üzere birçok yetkili sertifika almıştır.
Şirketimiz, plastik vanalar, borular, boru bağlantı parçaları ve korozyona dayanıklı pompalar da dahil olmak üzere kimyasal uygulamalar için metal olmayan korozyona dayanıklı ürünlerin geliştirilmesi, üretimi ve tedarikinde uzmanlaşmıştır. Ürün portföyümüz, çeşitli tip ve özelliklerde PVC-C, PVC-U, PVDF, PPH ve FRPP gibi geniş bir malzeme yelpazesini kapsamaktadır. Özellikle kelebek vanalarımız DN1000 çapa kadar ulaşabilir ve boru ve bağlantı parçalarımız DN800'e kadar genişletilebilir; bu da pazar boşluklarını doldurmamıza ve sektörde rekabet avantajımızı korumamıza olanak tanır.
"Teknoloji odaklı, çağa ayak uyduran" ilkesi doğrultusunda Kaixin, araştırma ve geliştirmeye yıllık yaklaşık 10 milyon RMB ayırmaktadır. Standartlaştırılmış otomatik üretim ve ithal hammaddelerin titizlikle tedarik edilmesi yoluyla üstün ürün kalitesini garanti ediyoruz. Uluslararası gelişim stratejimiz doğrultusunda, küresel pazar trendlerini sürekli olarak izliyor ve dijital kanalları kullanarak dünya çapındaki müşterilerimize yüksek kaliteli "Çin Malı" ürünler sunuyoruz.
Ningbo-Fenghua Araştırma ve Geliştirme ve Üretim Üssü
Toplam 200 milyon RMB yatırımla Kaixin Ultra-Pure Pipe Technology (Ningbo) Co., Ltd., üniversiteler ve araştırma kurumlarıyla iş birliği yaparak yeni bir malzeme araştırma enstitüsü kurdu ve modern bir üretim üssü inşa etti. Bu tesiste, modifiye plastikler için sekiz ve polimer malzemeler için sekiz adet tam otomatik üretim hattı kuruldu. Tesis, yeni modifiye plastik ve polimer malzemelerin araştırma ve geliştirilmesi, üretimi ve uygulamasına adanmıştır. Kaixin ayrıca, polimer vanalar, borular ve bağlantı parçalarının araştırma ve geliştirilmesi ve üretiminde küresel olarak tanınan bir lider olmayı hedeflemekte ve çeşitli alanlardan üstün yetenekleri çekmeye, ürün inovasyonunu ve marka gelişimini sürekli olarak desteklemeye kararlıdır.
Şeref Belgesi
  • honor
  • honor
  • honor
  • honor
  • honor
  • honor
  • honor
  • honor
  • honor
Haberler